La Oficina de Patentes de Estados Unidos concedió a Tesla Motors la patente de un sistema para limpiar superficies de cristal que funciona con rayos láser. Esta tecnología podría ser empleada para sustituir a los limpiaparabrisas convencionales, para limpiar las ópticas de las cámaras que equipan los coches y los paneles solares que montarán en el futuro.

Tesla ya ha registrado otras patentes que afectan a los limpiaparabrisas. Su anterior innovación fue un sistema basado en un mecanismo electromagnético, en el que el brazo del limpia se desliza transversalmente a lo largo de todo el parabrisas por unos carriles magnéticos.
Mirá También
Tesla lidera a nivel mundial en marcas de autos
Este mecanismo se esconde bajo el capó cuando no está en funcionamiento. De esta forma, se puede cubrir toda la superficie del parabrisas y también permitiría instalar las cámaras de los sistemas ADAS más arriba.
Este sistema reduce significativamente la fricción y mejora la aerodinámica, lo que repercute en los consumos; además de eliminar muchos mecanismos susceptibles de sufrir corrosión con el paso del tiempo.

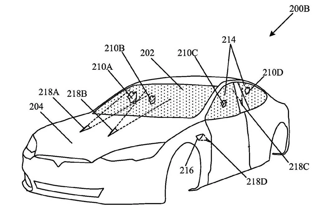
Gracias a esta tecnología, las cámaras de los sistemas ADAS podrían instalarse mucho más arriba en los parabrisas panorámicos, que se extienden hacia el techo. Ahora no es posible porque los limpiaparabrisas no llegan a limpiar esa zona, lo que impide el montaje de las cámaras tan arriba.
Estas creaciones de Tesla buscan que las cámaras de los actuales sistemas ADAS y de los futuros sistemas de conducción autónoma estén siempre limpias. Y es que la información que trasmiten es clave para el correcto funcionamiento de los sistemas de seguridad y de asistencia a la conducción del vehículo.

Además de la limpieza, el correcto mantenimiento de los sistemas ADAS es clave para que funcionen correctamente con el paso del tiempo. Por ejemplo, cuando se sustituye un parabrisas y se desmontan las cámaras del cristal roto para montarlas en el nuevo, estas cámaras han de ser recalibradas para asegurar que “apuntan” con precisión al lugar indicado por el fabricante y transmiten la información correcta a los sistemas de seguridad.
La Federación Internacional del Automóvil ha solicitado “asegurar procesos transparentes de calibración para que los sistemas ADAS mantengan su eficacia con el paso del tiempo”.
En unas pruebas efectuadas por el instituto MIRA se ha demostrado que cuando las cámaras fallan por una mala recalibración, el coche no es capaz de realizar un reconocimiento fiable del entorno y los sistemas de seguridad fallan.